Copper Washers DIN 434

|
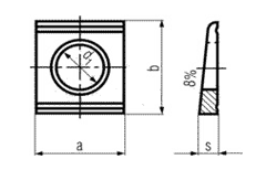
| d1 |
used for |
a |
b |
s |
| 9 |
M 8 |
22 |
22 |
3.8 |
| 11 |
M 10 |
22 |
22 |
3.8 |
| 14 |
M 12 |
26 |
30 |
4.9 |
| 18 |
M 16 |
32 |
36 |
5.9 |
| 22 |
M 20 |
40 |
44 |
7 |
| 24 |
M 22 |
44 |
50 |
8 |
| 26 |
M 24 |
56 |
56 |
8.5 |
| 30 |
M 27 |
56 |
56 |
8.5 |
| 33 |
M 30 |
62 |
62 |
9 |
Please contact us for all your needs of Copper Washers DIN 434 at best prices from india. We are the biggest indian manufacturers exporters of Copper Washers DIN 434
|